CompositionPrincipes actifs
Methotrexatum ut methotrexatum dinatricum
Excipients
Natrii chloridum, natrii hydroxidum q.s. ad pH, aqua ad iniectabilia q.s. ad solutionem
Contenu total en sodium:
|
|
|
Contenu total en sodium (mg)
| |
Dose Volume
|
7,5 mg/0,75 ml
|
2,804
| |
10 mg/1 ml
|
3,739
| |
15 mg/1,5 ml
|
5,609
| |
20 mg/2 ml
|
7,478
| |
7.5 mg/0.375 ml
|
1,548
| |
10 mg/0.5 ml
|
2,065
| |
12.5 mg/0.625 ml
|
2,581
| |
15 mg/0.75 ml
|
3,097
| |
17.5 mg/0.875 ml
|
3,613
| |
22,5 mg/1,125 ml
|
4,645
| |
27,5 mg/1,375 ml
|
5,677
| |
20 mg/1 ml
|
4,129
| |
25 mg/1,25 ml
|
5,161
| |
30 mg/1,5 ml
|
6,194
|
Tampon imbibé de désinfectant
Alcohol isopropylicus 70%.
Indications/Possibilités d’emploiPolyarthrite rhumatoïde active chez les patients adultes.
Formes polyarthritiques de l'arthrite juvénile active idiopathique sévère en l'absence de réponse aux anti-inflammatoires non stéroïdiens (AINS).
Psoriasis vulgaire sévère et tenace qui altère la qualité de vie et qui ne répond pas suffisamment à d'autres formes thérapeutiques comme la photothérapie, le traitement par psoralènes et rayons UVA (puvathérapie) ou les rétinoïdes, ainsi que psoriasis arthropathique sévère chez les patients adultes.
Formes légères à modérées de la maladie de Crohn, seul ou en association avec des corticostéroïdes, chez les patients adultes ne répondant pas aux thiopurines ou ne les tolérant pas.
Posologie/Mode d’emploi
|
Methrexx ne doit être administré que 1x par semaine. Il faut explicitement rendre le patient attentif au fait inhabituel que Methrexx n'est administré qu'une fois par semaine. Il est recommandé de convenir d'un jour de la semaine fixe et approprié pour l'injection. Le prescripteur doit préciser le jour de la semaine de l'administration sur l'ordonnance/l'emballage extérieur.
|
Methrexx ne doit être prescrit que par des médecins ayant l'expérience des différentes propriétés du médicament et de son mode d'action.
L'élimination du méthotrexate chez les patients disposant d'un troisième espace de distribution (ascite, épanchement pleural) est limitée. Ces patients doivent faire l'objet d'une surveillance étroite en ce qui concerne une éventuelle toxicité. En plus, une réduction posologique ou, dans certains cas, une interruption du traitement par le méthotrexate peuvent être nécessaires (voir les rubriques «Mises en garde et précautions» ainsi que «Pharmacocinétique»).
Posologie chez les patients adultes atteints de polyarthrite rhumatoïde
La dose initiale recommandée est de 7,5 mg de méthotrexate une fois par semaine en injection sous-cutanée, intramusculaire ou intraveineuse. Selon l'activité individuelle de la maladie et la tolérance du patient, la dose initiale peut être augmentée par paliers progressifs de 2,5 mg par semaine. En général, il ne faut pas dépasser une dose hebdomadaire de 25 mg. Toutefois, des doses supérieures à 20 mg par semaine sont associées à une hausse significative de la toxicité, en particulier pour la moelle osseuse.
Il faut s'attendre à un délai d'action d'environ 4–8 semaines. Une fois le résultat thérapeutique souhaité obtenu, réduire progressivement la posologie à la plus faible dose d'entretien encore efficace.
Posologie chez les enfants et les adolescents de moins de 16 ans atteints de formes polyarthritiques d'arthrite juvénile idiopathique (AJI)
La posologie recommandée est de 10–15 mg/m² de surface corporelle (SC) une fois par semaine. Dans les cas réfractaires au traitement, la posologie peut être augmentée jusqu'à 20 mg/m² de surface corporelle une fois par semaine. Toutefois, lorsque la posologie est augmentée, il faut augmenter la fréquence des examens de contrôle. En raison des données limitées disponibles au sujet de l'administration intraveineuse chez les enfants et les adolescents, l'administration par voie parentérale doit se limiter à l'injection sous-cutanée et intramusculaire. Les patients atteints d'AJI doivent dans tous les cas être adressés à un centre de rhumatologie spécialisé dans le traitement des enfants et des adolescents.
Le traitement par Methrexx n'est pas indiqué si la clairance de la créatine est inférieure à 80 ml/min.
Methrexx n'est pas recommandé chez les enfants de moins de 3 ans car on ne dispose pas de suffisamment de données concernant l'efficacité et la sécurité chez ce groupe de patients (voir sous «Mises en garde et précautions»).
Posologie chez les patients adultes atteints de psoriasis vulgaire et de psoriasis arthropathique
Il est recommandé d'administrer une dose test parentérale de 5 à 10 mg une semaine avant le début du traitement afin de dépister les effets indésirables idiosyncrasiques. La dose initiale recommandée est de 7,5 mg de méthotrexate une fois par semaine en injection sous-cutanée, intramusculaire ou intraveineuse. Augmenter la posologie progressivement et ne pas dépasser d'une manière générale une dose hebdomadaire de 25 mg de méthotrexate.
Les doses dépassant 20 mg/semaine peuvent être associées à une hausse significative de la toxicité, en particulier à des effets myélotoxiques. Dans certains cas exceptionnels, une posologie plus élevée peut être cliniquement justifiée. Elle ne doit toutefois pas dépasser la dose maximale hebdomadaire de 30 mg de méthotrexate car la toxicité augmenterait alors nettement.
Il faut en général s'attendre un délai d'action d'environ 2 à 6 semaines. Une fois le résultat thérapeutique souhaité obtenu, réduire progressivement la posologie à la plus faible dose d'entretien encore efficace.
Posologie chez les patients atteints de la maladie de Crohn
Instauration du traitement:
25 mg/semaine par voie sous-cutanée. La réponse au traitement peut être attendue après 8 à 12 semaines environ.
Traitement d'entretien:
15 mg/semaine par voie sous-cutanée.
L'expérience chez l'enfant et l'adolescent n'est pas suffisante pour que Methrexx puisse être recommandé pour le traitement de la maladie de Crohn chez cette population de patients.
Instructions posologiques particulières
Patients présentant des troubles de la fonction rénale
Methrexx doit être utilisé avec prudence chez les patients insuffisants rénaux. La posologie doit être ajustée comme suit:
Tableau 1: Ajustement posologique pour les doses de méthotrexate < 100 mg/m2 chez les patients insuffisants rénaux (méthotrexate à faible dose)
|
Clairance de la créatinine (ml/min)
|
% de la dose à administrer
| |
≥60
|
100%
| |
30–59
|
50%
| |
< 30
|
Le méthotrexate ne doit pas être utilisé.
|
Voir la rubrique «Contre-indications».
Patients présentant des troubles de la fonction hépatique
Chez les patients présentant une affection hépatique significative existante ou antérieure, surtout si elle est ou si elle a été provoquée par l'alcool, le méthotrexate ne doit être administré qu'avec une grande prudence et seulement si cela est vraiment nécessaire. Le méthotrexate est contre-indiqué si le taux de bilirubine dépasse 5 mg/dl (85,5 µmol/l).
Patients âgés
Chez les patients âgés, une réduction posologique doit être envisagée en raison de la diminution des fonctions hépatique et rénale et des réserves de folates réduites qui apparaissent avec l'âge.
Utilisation chez les patients présentant un troisième espace de distribution (épanchement pleural, ascite)
Comme la demi-vie peut être jusqu'à quatre fois plus longue chez les patients présentant un troisième espace de distribution, une réduction posologique, voire, dans certains cas, une interruption du traitement par le méthotrexate peut s'avérer nécessaire (voir les rubriques «Mises en garde et précautions» ainsi que «Pharmacocinétique»).
Mode d'administration
Ce médicament est destiné à un usage unique. La solution injectable Methrexx est injectée par voie intramusculaire, intraveineuse ou sous-cutanée (chez les enfants et adolescents, uniquement par voie sous-cutanée ou intramusculaire). La durée totale du traitement est décidée par le médecin.
Mise en garde importante concernant le dosage du méthotrexate:
Les patients doivent être instruits et formés à la technique d'injection correcte s'ils s'auto-administrent le méthotrexate. La première injection de Methrexx doit être effectuée sous surveillance médicale directe.
Des instructions sur l'administration de la solution injectable Methrexx en seringue préremplie, avec ce que l'on appelle une aiguille de sécurité figurent au paragraphe Remarques concernant la manipulation.
Veuillez noter que tout le contenu de la seringue doit être administré.
Remarque
Lorsque l'on passe d'une administration orale à une utilisation parentérale, une réduction posologique peut s'avérer nécessaire en raison de la biodisponibilité fluctuante du méthotrexate après administration orale.
Selon les directives thérapeutiques actuelles, une supplémentation en acide folique peut être envisagée.
Contre-indicationsMethrexx ne doit pas être utilisé dans les cas suivants:
Hypersensibilité au méthotrexate ou à l'un des excipients,
insuffisance hépatique (voir «Posologie/Mode d'emploi»),
abus d'alcool,
insuffisance rénale (clairance de la créatinine <30 ml/min, voir également la rubrique «Posologie/Mode d'emploi»),
dyscrasie sanguine préexistante telle que hypoplasie médullaire, leucopénie, thrombocytopénie ou anémie significative,
infections sévères, aiguës ou chroniques, telles que tuberculose et VIH ou autres syndromes d'immunodéficience,
ulcérations de la cavité buccale et ulcères gastro-intestinaux connus,
grossesse, allaitement (voir «Grossesse/Allaitement»),
vaccination simultanée avec des vaccins vivants,
administration de méthotrexate après une anesthésie au protoxyde d'azote.
Mises en garde et précautionsIl faut clairement informer les patients que le traitement doit être utilisé une fois par semaine et non tous les jours. Des cas de décès ont notamment été rapportés en particulier chez les patients âgés, après une utilisation quotidienne accidentelle de la dose hebdomadaire.
Les patients sous traitement doivent être surveillés convenablement afin de déceler tout signe d'éventuels effets toxiques ou indésirables et de pouvoir évaluer ceux-ci sans retard. C'est pourquoi le méthotrexate ne doit être utilisé que sous la surveillance de médecins expérimentés et disposant de connaissances dans l'utilisation d'un traitement par antimétabolites. Etant donné le risque de réactions toxiques sévères et même fatales, le patient doit être complètement informé des risques et des mesures de protection recommandées.
Des lymphomes malins peuvent survenir chez les patients recevant de faibles doses de méthotrexate, ce qui impose l'arrêt de ce principe actif. Si les lymphomes ne régressent pas spontanément, il est alors nécessaire d'instaurer un traitement cytotoxique. Il a été rapporté que l'administration simultanée d'antagonistes des folates comme le triméthoprime ou le sulfamétoxazole peut dans de rares cas provoquer une pancytopénie mégaloblastique aiguë.
Photosensibilité
Une sensibilité à la lumière a été observée chez certaines personnes prenant du méthotrexate, se manifestant par une réaction exagérée aux coups de soleil (voir «Effets indésirables»). L'exposition intense au soleil ou aux rayons UV doit être évitée, sauf indication médicale. Les patients doivent utiliser un écran solaire efficace pour se protéger de l'exposition intense au soleil.
Une dermatite provoquée par un rayonnement ou un coup de soleil peuvent réapparaître sous un traitement par le méthotrexate (réaction de rappel). Les lésions psoriasiques peuvent s'aggraver lors d'une exposition à un rayonnement UV et de l'administration simultanée de méthotrexate.
Chez les patients présentant une accumulation pathologique de liquide comme une ascite ou des épanchements pleuraux («troisième espace de distribution»), l'élimination du méthotrexate est limitée. Ces patients doivent faire l'objet d'une surveillance particulièrement étroite en ce qui concerne d'éventuelles toxicités. En outre, une réduction posologique, voire même dans certains cas une interruption du traitement par le méthotrexate est nécessaire. Les épanchements pleuraux et l'ascite doivent être drainés avant le début d'un traitement par le méthotrexate.
Une diarrhée ou une stomatite ulcéreuse peuvent représenter des effets toxiques et ils imposent donc une interruption du traitement, sans quoi ces effets pourraient conduire à une entérite hémorragique ou à un décès suite à une perforation intestinale.
Des préparations vitaminées ou d'autres produits contenant de l'acide folique, de l'acide folinique ou leurs dérivés peuvent diminuer l'effet du méthotrexate.
Lors du traitement du psoriasis, l'utilisation du méthotrexate doit rester limitée aux psoriasis sévères résistant au traitement qui ne répondent pas suffisamment à d'autres formes thérapeutiques, et uniquement lorsque le diagnostic a été posé sur la base d'une biopsie et/ou par un dermatologue.
Une encéphalopathie/leucoencéphalopathie (y compris une leucoencéphalopathie multifocale progressive [LEMP] provoquée par le virus JC) a été observée chez des patients traités par le méthotrexate. La LEMP est une pathologie potentiellement mortelle, qui doit être envisagée lors du diagnostic différentiel chez les patients immunodéprimés en cas de survenue ou d'altération de symptômes neurologiques.
Par ailleurs, une hémorragie alvéolaire pulmonaire a été rapportée lors de l'utilisation de méthotrexate lors d'indications rhumatologiques et d'indications similaires. Cet événement peut également être associé à une vascularite et à d'autres comorbidités. Lorsqu'une hémorragie alvéolaire pulmonaire est suspectée, un examen immédiat doit être envisagé afin de confirmer le diagnostic.
La présence d'une grossesse doit être exclue avant l'utilisation de Methrexx. Le méthotrexate est embryotoxique et provoque des avortements et des anomalies fœtales chez l'être humain. Le méthotrexate influence la spermatogenèse et l'ovogenèse pendant son utilisation, ce qui peut entraîner une diminution de la fertilité. Ces effets semblent être réversibles à l'arrêt du traitement. Une méthode de contraception fiable doit être utilisée par les hommes pendant le traitement et au moins pendant les trois mois qui suivent, et par les femmes pendant le traitement et au moins pendant les six mois qui suivent. Les possibles risques des conséquences sur la reproduction doivent être discutés avec les patientes en âge de procréer et leurs partenaires.
L'emploi chez les enfants de moins de 3 ans n'est pas recommandé en raison de l'insuffisance des données concernant l'efficacité et la sécurité.
Anesthésie au protoxyde d'azote
L'administration de méthotrexate après une anesthésie au protoxyde d'azote est contre-indiquée. L'utilisation d'anesthésiants à l'oxyde azoteux renforce l'effet du méthotrexate sur le métabolisme du folate, ce qui peut entraîner une augmentation de la toxicité, notamment une myélosuppression plus complexe et imprévisible, une stomatite et une neurotoxicité (voir «Contre-indications»).
Une neurotoxicité grave d'issue fatale a été observée en particulier dans le cadre d'une utilisation intrathécale de méthotrexate après une anesthésie au protoxyde d'azote. Cet effet peut être réduit par la supplémentation de folate (voir «Posologie/Mode d'emploi»).
Des effets indésirables graves sont survenus lors de l'administration de méthotrexate 36 heures après une anesthésie au protoxyde d'azote. Des effets indésirables graves sont également possibles après cet intervalle.
Fertilité et reproduction
Fertilité
Il a été rapporté que le méthotrexate administré chez l'humain provoquait une oligospermie, des troubles menstruels et une aménorrhée au cours du traitement et pendant une courte durée après son interruption. De plus, le méthotrexate peut altérer la fertilité en influençant la spermatogenèse et l'ovogenèse pendant la durée du traitement. Ces effets semblent réversibles après l'arrêt du traitement.
Tératogénicité - risque pour la reproduction
Le méthotrexate entraîne chez l'être humain une embryotoxicité, des fausses couches et des malformations fœtales. Les conséquences possibles sur la fertilité, les avortements spontanés et les malformations congénitales doivent donc être abordées avec les patientes en âge de procréer (voir «Grossesse/Allaitement»). Avant l'utilisation de Methrexx, l'absence de grossesse doit être confirmée. Lorsque des femmes en âge de procréer sont traitées, elles doivent utiliser une méthode de contraception fiable pendant toute la durée du traitement et au moins six mois après.
Pour les informations concernant la contraception chez les hommes, voir la section «Grossesse/Allaitement».
Les examens de contrôle suivants sont recommandés:
Avant le début du traitement ou après la reprise du traitement après une pause thérapeutique
Hémogramme complet avec formule sanguine et thrombocytes, enzymes hépatiques, bilirubine, albumine sérique, radiographie thoracique et tests évaluant la fonction rénale. S'il y a une indication clinique, exclure une tuberculose et une hépatite.
Pendant le traitement (au moins tous les mois pendant les 6 premiers mois, puis au moins tous les trois mois; une plus grande fréquence des contrôles doit aussi être envisagée lors d'une augmentation posologique)
1. Inspection de la cavité buccale et du pharynx afin de déceler des modifications de la muqueuse.
2. Hémogramme complet avec formule sanguine et thrombocytes. Une suppression hématopoïétique induite par le méthotrexate peut survenir brutalement et à des doses manifestement sûres. Toute chute nette des leucocytes ou des thrombocytes implique l'arrêt immédiat du traitement et un traitement de soutien approprié. Il faut enjoindre les patients de signaler tous les signes et symptômes d'infections suspectes. Chez les patients prenant simultanément des médicaments hématotoxiques (par ex. léflunomide), la formule sanguine et les thrombocytes doivent être étroitement surveillés.
3. Paramètres hépatiques: une attention particulière doit être portée à la survenue éventuelle d'une toxicité hépatique. En présence d'anomalies persistantes ou significatives des paramètres hépatiques, dans les tests de dépistage d'autres marqueurs non invasifs d'une fibrose hépatique ou dans les biopsies hépatiques, il ne faut pas commencer le traitement, ou bien celui-ci doit être interrompu.
Une augmentation temporaire des taux de transaminases à deux à trois fois la limite supérieure de la normale a été observée chez 13 à 20% des patients. Des anomalies persistantes des enzymes hépatiques et/ou une diminution de l'albumine sérique peuvent être des signes d'hépatotoxicité sévère.
Le diagnostic enzymatique ne permet pas de prévoir de manière fiable l'évolution d'une hépatotoxicité détectable morphologiquement, à savoir que, même en présence de taux de transaminases normaux, une fibrose hépatique uniquement détectable histologiquement ou, dans des cas plus rares, également une cirrhose du foie peuvent exister.
Des options diagnostiques non invasives doivent être envisagées pour surveiller l'état du foie, en fonction des lignes directrices cliniques locales et de la disponibilité des procédés. Dans certains cas, la réalisation d'une biopsie du foie doit être envisagée pour diagnostiquer une affection hépatique, en tenant compte des maladies concomitantes du patient, de ses antécédents médicaux et des risques liés à la biopsie. Une consommation excessive d'alcool dans le passé, des enzymes hépatiques durablement élevées, un antécédent d'affection hépatique, des affections hépatiques héréditaires dans la famille, le diabète sucré, l'obésité et un contact antérieur avec des médicaments ou substances chimiques hépatotoxiques ainsi qu'un traitement antérieur prolongé par du méthotrexate font partie des facteurs de risque d'une hépatotoxicité.
En cas d'augmentation persistante des enzymes hépatiques, une réduction de la dose ou l'arrêt du traitement doivent être envisagés.
En raison de l'effet toxique potentiel sur le foie, il ne faut pas administrer de médicaments hépatotoxiques supplémentaires pendant le traitement par méthotrexate, sauf si cela est clairement nécessaire, et la consommation d'alcool doit être évitée ou fortement réduite (voir la rubrique «Interactions»). Chez les patients qui utilisent simultanément d'autres médicaments hépatotoxiques (p.ex. le léflunomide), les enzymes hépatiques doivent être contrôlées encore plus étroitement.
Chez les patients souffrant de diabète sucré insulinodépendant, une prudence particulière est généralement de rigueur car, dans des cas isolés, une cirrhose du foie s'est développée pendant le traitement par du méthotrexate, même sans augmentation des taux de transaminases.
4. La fonction rénale doit être contrôlée par les paramètres rénaux et une analyse d'urine.
Le méthotrexate étant éliminé essentiellement par voie rénale, il y a lieu de s'attendre, en cas d'insuffisance rénale, à des concentrations élevées risquant de provoquer des effets indésirables sévères.
En cas de possible insuffisance rénale (par ex. chez les patients âgés), la surveillance doit être étroite. Cela s'applique en particulier lors d'une administration simultanée d'autres médicaments qui diminuent l'excrétion du méthotrexate, provoquent des lésions rénales (par ex. anti-inflammatoires non stéroïdiens) ou peuvent potentiellement induire des troubles de l'hématopoïèse. Une déshydratation peut également augmenter la toxicité du méthotrexate.
5. Examen du système respiratoire:
Veiller attentivement à déceler tout symptôme d'insuffisance respiratoire et, si nécessaire, à faire une épreuve fonctionnelle pulmonaire. Une affection pulmonaire nécessite un diagnostic rapide et l'arrêt du méthotrexate. L'apparition des symptômes pulmonaires (surtout une toux irritative sèche) ou d'une pneumonie aspécifique pendant le traitement par le méthotrexate, peut être l'indice d'une atteinte potentiellement dangereuse et impose l'interruption du traitement ainsi qu'une surveillance soigneuse. Même si le tableau clinique varie, les patients atteints d'une affection pulmonaire induite par le méthotrexate présentent typiquement une fièvre, une toux avec détresse respiratoire, une hypoxémie et un infiltrat sur la radiographie thoracique; il faut exclure des infections. Cette lésion peut survenir à tous les dosages.
6. En raison de son action sur le système immunitaire, le méthotrexate peut diminuer la réponse aux vaccinations et influencer le résultat de tests immunologiques. Une prudence particulière est de rigueur en présence d'infections chroniques inactives (par ex. zona, tuberculose, hépatite B ou C) car celles-ci peuvent éventuellement être réactivées. Ne pas effectuer simultanément de vaccinations avec des vaccins vivants.
Ce médicament contient moins de 1 mmol (23 mg) de sodium par seringue préremplie, c'est-à-dire qu'il est essentiellement «sans sodium».
InteractionsAlcool, médicaments hépatotoxiques, hématotoxiques
Une consommation régulière d'alcool et la prise simultanée d'autres médicaments hépatotoxiques augmente la probabilité que le méthotrexate provoque des effets hépatotoxiques. Les patients prenant simultanément d'autres produits hépatotoxiques (par ex. léflunomide) doivent être surveillés avec une prudence particulière. Ceci doit être aussi pris en considération lorsque des médicaments hématotoxiques (par ex. léflunomide) sont pris simultanément. L'incidence d'une pancytopénie et d'une hépatotoxicité peut être augmentée quand le léflunomide est associé au méthotrexate.
Un traitement combiné avec du méthotrexate et des rétinoïdes comme l'acitrétine ou l'étrétinate augmente le risque d'hépatotoxicité.
L'utilisation concomitante de métamizole et de méthotrexate peut renforcer l'effet hématotoxique du méthotrexate, en particulier chez les patients âgés. Par conséquent, l'utilisation concomitante doit être évitée.
Antibiotiques oraux
Les antibiotiques oraux, tels que les tétracyclines, le chloramphénicol et les antibiotiques à large spectre non absorbables, peuvent influencer le cycle entéro-hépatique par inhibition de la flore intestinale ou inhibition de la métabolisation bactérienne.
Antibiotiques
Les antibiotiques, tels que les pénicillines, les glycopeptides, les sulfonamides, la ciprofloxacine et la céfalotine, peuvent, dans des cas isolés, réduire la clairance rénale du méthotrexate à tel point qu'une augmentation des concentrations sériques de méthotrexate s'accompagnant d'une toxicité hématologique et gastro-intestinale peut survenir.
Probénécide, acides organiques faibles, pyrazolés et anti-inflammatoires non stéroïdiens
Le probénécide, les acides organiques faibles, tels que les diurétiques de l'anse et les pyrazolés (phénylbutazone), peuvent diminuer l'excrétion du méthotrexate et on peut présumer que des concentrations sériques plus élevées apparaissent et entraînent une toxicité hématologique. Le risque d'une toxicité accrue existe aussi lorsque de faibles doses de méthotrexate sont associées à des anti-inflammatoires non stéroïdiens ou à des salicylates.
Médicaments ayant des effets indésirables sur la moelle osseuse
Lors d'un traitement par des médicaments entraînant d'éventuels effets indésirables sur la moelle osseuse (par ex. sulfonamides, triméthoprime-sulfaméthoxazole, chloramphénicol, pyriméthamine), il faut tenir compte de la possibilité de troubles marqués de l'hématopoïèse.
Médicaments induisant une carence en folates
L'administration simultanée de médicaments provoquant une carence en folates (par ex. sulfonamides, triméthoprime-sulfaméthoxazole) peut entraîner une toxicité accrue du méthotrexate. Une prudence particulière est donc aussi de rigueur en cas de carence en folates déjà présente.
Autres antirhumatismaux
Il n'y a pas lieu de redouter une augmentation de la toxicité du méthotrexate quand Methrexx est utilisé simultanément à d'autres traitements de fond (par ex. sels d'or, pénicillamine, hydroxychloroquine, sulfasalazine, azathioprine, ciclosporine).
Sulfasalazine
Bien que l'association de méthotrexate et de sulfasalazine puisse provoquer une accentuation de l'action du méthotrexate et donc des effets indésirables accrus car la sulfasalazine induit une inhibition de la synthèse de l'acide folique, de tels effets indésirables n'ont été observés que dans de rares cas dans plusieurs études.
Inhibiteurs de la pompe à protons
L'administration simultanée d'inhibiteurs de la pompe à protons tels que l'oméprazole et le pantoprazole peut entraîner des interactions: l'administration simultanée de méthotrexate et d'oméprazole a provoqué un retard de l'élimination rénale du méthotrexate. Lors de l'association avec le pantoprazole, une inhibition de l'élimination rénale du métabolite 7-hydroxyméthotrexate a été rapportée dans un cas, avec des myalgies et des frissons.
Boissons contenant de la caféine ou de la théophylline
Une consommation excessive de boissons contenant de la caféine ou de la théophylline (café, softdrinks contenant de la caféine, thé noir) doit être évitée pendant le traitement par le méthotrexate.
Mercaptopurine
Le méthotrexate augmente les taux plasmatiques de mercaptopurine. L'association de méthotrexate et de mercaptopurine peut donc imposer une adaptation de la dose.
Valproate
Les cas rapportés décrivent une diminution significative des taux sériques de valproate et l'apparition de symptômes cliniques tels que des crises d'épilepsie dans les heures suivant l'administration du méthotrexate. Pendant le traitement par l'association de valproate et de méthotrexate, les médecins prescripteurs doivent surveiller la réponse clinique (contrôle des crises ou des épisodes maniaques) et instaurer une surveillance étroite, régulière et appropriée des taux sériques de valproate.
Médicaments présentant une forte liaison aux protéines plasmatiques
Le méthotrexate se lie aux protéines plasmatiques et peut être déplacé par d'autres médicaments se liant aux protéines comme les salicylates, les hypoglycémiants, les diurétiques, les sulfonamides, la diphénylhydantoïne, les tétracyclines, le chloramphénicol et l'acide p-aminobenzoïque ainsi que les anti-inflammatoires acides, ce qui peut entraîner une augmentation de la toxicité lors d'une utilisation simultanée.
Anesthésie au protoxyde d'azote
L'administration de méthotrexate après une anesthésie au protoxyde d'azote est contre-indiquée. L'utilisation d'anesthésiants à l'oxyde azoteux renforce l'effet du méthotrexate sur le métabolisme du folate, ce qui peut entraîner une augmentation de la toxicité, notamment une myélosuppression plus complexe et imprévisible, une stomatite et une neurotoxicité (voir «Mises en garde et précautions»). Cet effet peut être réduit par la supplémentation de folate («Posologie/Mode d'emploi»).
Grossesse, allaitementFemmes en âge de procréer/contraception chez les femmes
Les femmes ne doivent pas tomber enceintes pendant le traitement par le méthotrexate et doivent utiliser une méthode de contraception fiable pendant au moins 6 mois après la fin du traitement par le méthotrexate (voir section «Mises en garde et précautions»). Avant le début du traitement, les femmes en âge de procréer doivent être informées du risque de malformation lié au méthotrexate. En outre, la présence d'une grossesse doit être exclue avec certitude par des examens appropriés tels qu'un test de grossesse. Pendant le traitement, des tests de grossesse devraient être réalisés selon les besoins cliniques (p.ex. après un défaut de contraception). Les patientes en âge de procréer doivent être conseillées en matière de prévention et de planification des grossesses.
Contraception chez les hommes
On ignore si le méthotrexate s'accumule dans le sperme. Dans des expérimentations animales, le méthotrexate s'est révélé génotoxique, si bien que le risque de répercussions génotoxiques sur le sperme ne peut pas être totalement exclu. Les preuves cliniques limitées ne suggèrent pas qu'il existe un risque accru de malformations ou de fausses couches lorsque le père a reçu du méthotrexate à de faibles doses (moins de 30 mg/semaine). Concernant les doses plus élevées, les données ne sont pas suffisantes pour estimer le risque de malformations ou de fausses couches après l'exposition paternelle.
Par mesure de précaution, les patients masculins sexuellement actifs ou leurs partenaires féminines devraient utiliser des méthodes de contraception fiables pendant toute la durée du traitement par le méthotrexate et au moins 3 mois après la fin du traitement. Pendant cette période, les hommes ne devraient pas non plus faire don de leur sperme.
Grossesse
Methrexx est contre-indiqué pendant la grossesse (voir «Contre-indications»). Dans les expérimentations animales, le méthotrexate a présenté une toxicité de la reproduction, surtout pendant le premier trimestre (voir «Données précliniques»). On a montré que le méthotrexate a des effets tératogènes chez l'être humain; des rapports signalent qu'il provoque la mort du fœtus et/ou des anomalies congénitales. L'exposition d'un nombre limité de femmes enceintes (42) a montré une incidence accrue (1:14) de malformations (crâniennes, cardiovasculaires et touchant les extrémités). Des grossesses normales ont été rapportées lorsque le médicament a été arrêté avant la conception. Les femmes ne doivent pas tomber enceintes pendant le traitement par le méthotrexate. Si une grossesse survient pendant le traitement, il faut recourir à une consultation médicale pour évaluer le risque d'effets indésirables pour l'enfant, en rapport avec le traitement par le méthotrexate. C'est pourquoi les patients en âge de procréer (femmes et hommes) doivent employer une contraception efficace pendant le traitement par Methrexx ainsi que pendant respectivement encore au moins les six mois (femmes) et les trois mois (hommes) qui suivent (voir également la rubrique «Mises en garde et précautions»).
Le méthotrexate est contre-indiqué pendant la grossesse pour les indications non oncologiques (voir «Contre-indications»). Si une grossesse survient au cours du traitement par le méthotrexate et jusqu'à 6 mois après, une consultation médicale sur le risque d'effets délétères pour l'enfant, en rapport avec le traitement, doit avoir lieu. En outre, des examens échographiques devraient être pratiqués afin de confirmer l'évolution normale du fœtus.
Des expérimentations animales ont montré une toxicité sur la reproduction, en particulier au premier trimestre (voir «Données précliniques»). Le méthotrexate s'est avéré tératogène chez l'humain; on a observé qu'il provoquait la mort du fœtus, des fausses couches et/ou des malformations fœtales (notamment cranio-faciales, cardiovasculaires et touchant le système nerveux central et les extrémités).
Le méthotrexate est un puissant tératogène humain qui augmente le risque d'avortements spontanés, de troubles de la croissance intra-utérine et de malformations congénitales en cas d'exposition pendant la grossesse.
·Des avortements spontanés ont été observés chez 42,5% des femmes enceintes sous méthotrexate à de faibles doses (moins de 30 mg/semaine). Chez les patientes présentant une pathologie similaire et traitées par d'autres médicaments que le méthotrexate, le taux d'avortements rapportés était de 22,5%.
·Des malformations congénitales graves sont survenues pour 6,6% des naissances vivantes issues de femmes qui avaient reçu du méthotrexate à faible dose (moins de 30 mg/semaine) pendant la grossesse. Chez les patientes présentant une pathologie similaire et traitées par d'autres médicaments que le méthotrexate, environ 4% des naissances vivantes ont été touchées.
Il n'existe pas suffisamment de données concernant l'exposition à des doses plus élevées de méthotrexate (doses supérieures à 30 mg/semaine) pendant la grossesse, mais il faut s'attendre à des taux supérieurs d'avortements spontanés et de malformations congénitales.
Lorsque le méthotrexate avait été arrêté avant la conception, des grossesses normales ont été rapportées.
Allaitement
Le méthotrexate est excrété dans le lait à de telles concentrations qu'il y a un risque pour le nourrisson. Il faut donc arrêter l'allaitement avant le traitement et ne pas allaiter pendant le traitement.
Fertilité
Le méthotrexate altère la spermatogenèse et l'ovogenèse, et peut diminuer la fertilité. Il a été rapporté que le méthotrexate administré chez l'humain provoquait une oligospermie, des troubles menstruels et une aménorrhée. Ces effets semblent réversibles après l'arrêt du traitement.
Effet sur l’aptitude à la conduite et l’utilisation de machinesDes symptômes du système nerveux central tels que fatigue et confusion peuvent survenir pendant le traitement. Methrexx a une influence faible ou modérée sur l'aptitude à la conduite ou l'utilisation de machines.
Effets indésirablesLes effets indésirables les plus fréquents sont des symptômes gastro-intestinaux, une atteinte de la fonction hépatique et du système hématopoïétique.
La survenue et le degré de sévérité des effets indésirables dépendent de la posologie et de la fréquence d'utilisation de Methrexx. Mais comme des effets indésirables sévères peuvent aussi survenir à une faible posologie, une surveillance médicale régulière à de brefs intervalles est indispensable.
Les indications suivantes sont utilisées pour classifier les indications de fréquence des effets indésirables: très fréquents (≥1/10), fréquents (≥1/100 à <1/10), occasionnels (≥1/1000 à <1/100), rares (≥1/10 000 à <1/1000) et très rares (<1/10 000), fréquence inconnue (ne peut être estimée sur la base des données disponibles).
Tumeurs bénignes, malignes et non précisées (incl. kystes et polypes)
Très rares: des rapports font état de la survenue de lymphomes ayant régressé dans certains cas après l'arrêt du traitement par le méthotrexate. Une étude récente n'a pas révélé d'incidence accrue de lymphomes lors d'un traitement par le méthotrexate.
Affections hématologiques et du système lymphatique
Fréquents: leucocytopénie, anémie, thrombocytopénie.
Occasionnels: pancytopénie.
Très rares: agranulocytose, évolutions sévères de dépression médullaire.
Affections du système nerveux
Fréquents: céphalées, fatigue, obnubilation.
Occasionnels: vertiges, confusion, dépressions.
Très rares: troubles visuels, douleurs, faiblesse musculaire, paresthésie/hypoesthésie, modifications du goût (goût métallique), convulsions, méningite aseptique, méningisme, paralysies.
Fréquence inconnue: encéphalopathie/leucoencéphalopathie.
Affections respiratoires, thoraciques et médiastinales
Fréquents: alvéolite/pneumonie interstitielles. Les symptômes évoquant des atteintes pulmonaires potentiellement sévères (pneumonie interstitielle) sont: toux irritative sèche, essoufflement et fièvre.
Rares: fibrose pulmonaire, pneumonie à Pneumocystis-carinii, essoufflement et asthme bronchique.
Fréquence inconnue: hémorragie alvéolaire pulmonaire.
Affections gastro-intestinales
Très fréquents: stomatite (20–30%), dyspepsie (jusqu'à 60%), nausées (60–70%), inappétence (60–70%).
Fréquents: ulcérations de la muqueuse buccale, diarrhée.
Occasionnels: pharyngite, entérite, pancréatite, vomissements.
Rares: ulcères gastro-intestinaux.
Très rares: hématémèse, hématorrhée.
Affections hépatobiliaires
Très fréquents: élévation des transaminases (jusqu'à 70%).
Occasionnels: cirrhose hépatique, fibrose hépatique, stéatose hépatique.
Affections de la peau et du tissu sous-cutané
Fréquents: exanthèmes, érythèmes, prurit.
Occasionnels: photosensibilité, chute des cheveux, augmentation des nodules rhumatoïdes, zona, vascularite, éruptions cutanées herpétiformes, urticaire.
Rares: pigmentation accrue.
Très rares: syndrome de Stevens-Johnson, nécrolyse toxique épidermique (syndrome de Lyell), pigmentation accrue des ongles, paronychie aiguë.
Fréquence inconnue: exfoliation de la peau/dermatite exfoliative.
Affections musculosquelettiques et du tissu conjonctif
Occasionnels: arthralgies, myalgies et ostéoporose.
Affections du rein et des voies urinaires
Occasionnels: inflammations et ulcérations au niveau de la vessie, trouble de la fonction rénale, troubles de la vidange vésicale.
Rares: insuffisance rénale, oligurie, anurie, troubles électrolytiques.
Affections des organes de reproduction et du sein
Occasionnels: inflammations et ulcérations au niveau du vagin.
Très rares: perte de la libido, impuissance, oligospermie, troubles menstruels, pertes vaginales.
Troubles généraux et anomalies au site d'administration
Rares: réactions allergiques, choc anaphylactique, vascularite allergique, fièvre, conjonctivite, infection, septicémie, troubles de la cicatrisation des plaies, épanchement pleural, épanchement péricardique, tamponnade péricardique, hypogammaglobulinémie.
En cas d'utilisation intramusculaire du méthotrexate, des effets secondaires locaux (sensation de brûlures) ou des lésions (formation d'abcès stérile, perte de tissu adipeux) peuvent se produire au niveau du site d'injection.
Fréquence inconnue: œdème.
L'annonce d'effets secondaires présumés après l'autorisation est d'une grande importance. Elle permet un suivi continu du rapport bénéfice-risque du médicament. Les professionnels de santé sont tenus de déclarer toute suspicion d'effet secondaire nouveau ou grave via le portail d'annonce en ligne ElViS (Electronic Vigilance System). Vous trouverez des informations à ce sujet sur www.swissmedic.ch.
SurdosageSignes et symptômes
Les effets secondaires toxiques du méthotrexate touchent essentiellement le système hématopoïétique.
Traitement
On dispose du folinate de calcium comme antidote spécifique pour neutraliser les effets secondaires toxiques du méthotrexate.
En cas de surdosage accidentel, donner dans l'heure qui suit une dose de folinate de calcium, identique ou supérieure à la dose de méthotrexate nocive, par voie intraveineuse ou intramusculaire et répéter la dose jusqu'à ce que la concentration sérique de méthotrexate soit inférieure à 10–7 mol/l.
En cas de surdosage massif, essayer de minimiser la précipitation du méthotrexate et/ou de ses métabolites dans les tubules rénaux, par une hydratation et une alcalinisation des urines. Aucune preuve n'a été apportée que l'hémodialyse ou la dialyse péritonéale améliorent l'élimination du méthotrexate. Une clairance effective du méthotrexate a été rapportée avec une hémodialyse intermittente aiguë avec un appareil de dialyse à haut débit.
Propriétés/EffetsCode ATC
L04AX03
Mécanisme d'action
Le méthotrexate, un antagoniste de l'acide folique, appartient à la classe de substances cytotoxiques appelées antimétabolites. Il agit par inhibition compétitive de l'enzyme dihydrofolate réductase et inhibe ainsi la synthèse de l'ADN. À ce jour, on ne sait pas si l'efficacité du méthotrexate dans le traitement du psoriasis, de l'arthrite psoriasique, de la polyarthrite rhumatoïde et de la maladie de Crohn repose sur un effet anti-inflammatoire ou sur un effet immunosuppresseur, ni dans quelle mesure les concentrations extracellulaires d'adénosine contribuent à ces effets.
Les effets indésirables observés dans le cadre des études portant sur la maladie de Crohn et l'utilisation du méthotrexate à des doses cumulatives ne présentent pas de modification du profil de sécurité par rapport au profil déjà connu pour le méthotrexate. C'est pourquoi, dans le cas de la maladie de Crohn, le méthotrexate doit être utilisé avec la même prudence que dans le cas d'autres indications rhumatismales et non rhumatismales du méthotrexate (voir les rubriques «Mises en garde et précautions» ainsi que «Grossesse, Allaitement»).
Pharmacodynamique
Le méthotrexate pénètre dans la cellule par un transporteur actif pour les folates réduits et en raison d'une liaison relativement irréversible. Ici, le méthotrexate agit principalement au cours de la phase S de la division cellulaire par inhibition compétitive de la dihydrofolate réductase. Les dihydrofolates sont réduits par cette enzyme en tétrahydrofolates qui fonctionnent comme des porteurs pour les groupes à un atome de carbone pour la synthèse des nucléotides purine et des thymidylates. Le méthotrexate inhibe ainsi la synthèse et la réparation de l'ADN/ARN et la prolifération cellulaire. L'affinité de la dihydrofolate réductase pour le méthotrexate est sensiblement plus importante que celle pour l'acide folique ou l'acide dihydrofolique. Les tissus en cours de prolifération, comme les cellules malignes, la moelle osseuse, les cellules fœtales, la muqueuse de la bouche et de l'intestin, les zones cutanées touchées par le psoriasis, la matrice pileuse ainsi que les cellules de la vessie sont généralement plus sensibles à l'action du méthotrexate.
En cas de psoriasis, la vitesse de production des cellules épithéliales de la peau est fortement accélérée comparativement à la peau normale. Cette différence de vitesse de prolifération constitue le fondement de l'utilisation du méthotrexate contre l'évolution du psoriasis.
Le méthotrexate a aussi une action immunosuppressive.
L'action du méthotrexate peut être abolie par l'administration de leucovorine (acide folinique, acide N5-formyltétrahydrofolique).
Efficacité clinique
Aucune donnée pertinente n'est disponible.
PharmacocinétiqueAbsorption
Pharmacocinétique chez l'adulte
L'absorption après administration intramusculaire et sous-cutanée est rapide et pratiquement complète (76-100%), les taux sériques maximaux sont atteints après 0,25-2 h.
Distribution
La liaison aux protéines plasmatiques du méthotrexate est d'environ 50%. Lors de la distribution, il se produit une accumulation surtout dans le foie, les reins et la rate sous forme de polyglutamates qui peuvent être retenus en partie pendant des semaines voire des mois. Le méthotrexate passe en faibles quantités dans le liquide céphalorachidien. La demi-vie terminale s'élève en moyenne à 6–7 heures et présente une grande fourchette de fluctuation (3–17 heures). Chez les patients présentant un troisième espace de distribution (épanchement pleural, ascite), la demi-vie peut être jusqu'à quatre fois plus élevée.
Métabolisme
Environ 10% de la dose de méthotrexate utilisée sont métabolisés dans le foie. Le métabolite principal est le 7-hydroxyméthotrexate.
Élimination
L'excrétion est essentiellement rénale et se fait sous forme inchangée par filtration glomérulaire et sécrétion active dans le tubule proximal.
Environ 5–20% du méthotrexate et 1–5% du 7-hydroxyméthotrexate sont éliminés par voie biliaire. Il existe un cycle entéro-hépatique marqué.
Cinétique pour certains groupes de patients
L'élimination est nettement retardée en cas de diminution de la fonction rénale. Une diminution de l'excrétion n'est actuellement pas connue en cas d'insuffisance hépatique.
Données précliniquesComme aucune étude conventionnelle portant sur la carcinogénicité n'a été réalisée et que les données issues des études sur la toxicité chronique qui ont été conduites avec des rongeurs sont incohérentes, le méthotrexate est considéré comme non classifiable en ce qui concerne sa carcinogénicité pour l'être humain.
Remarques particulièresIncompatibilités
La compatibilité avec d'autres produits parentéraux n'a pas été étudiée. Il est recommandé de ne pas mélanger ce médicament avec d'autres médicaments ou solvants.
Stabilité
Le médicament ne doit pas être utilisé au-delà de la date figurant après la mention «EXP» sur le récipient.
Remarques particulières concernant le stockage
Conserver dans l'emballage original, à température ambiante (15–25°C), à l'abri de la lumière et hors de la portée des enfants.
Remarques concernant la manipulation
Pour permettre une utilisation sécurisée des seringues préremplies Methrexx, le médicament est fourni avec ce que l'on appelle une aiguille de sécurité. L'aiguille se trouve dans un manchon de protection, qui lors de l'introduction, se rétracte automatiquement et libère l'aiguille. Une fois l'injection faite, le manchon de protection se bloque et l'aiguille est protégée. Ainsi, les blessures par piqûre d'aiguille sont évitées.
Observez minutieusement chaque étape d'injection sous la peau afin d'assurer une injection sans erreur:
Ouvrez l'étui de la seringue préremplie Methrexx et lisez attentivement la notice d'utilisation.
Maintenez l'emballage qui se trouve à l'intérieur de manière à empêcher la seringue de tomber et - à température ambiante - retirez la feuille de recouvrement pour sortir la seringue de son emballage.
|
|

|
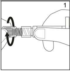
1. Retirez de la boîte l'emballage interne, qui comprend la seringue et l'aiguille. Ouvrez l'emballage interne en tirant sur la languette située dans le coin. Saisissez la seringue préremplie. Dévissez de la seringue l'embout en caoutchouc gris entouré de matière plastique, sans toucher l'orifice d'injection.
| |
|

|
2. Replacez la seringue dans l'emballage interne. La solution jaune ne peut pas s'écouler. Vérifiez maintenant que l'étiquette d'inviolabilité est intacte.
| |
|

|
3. Retirez le capuchon de l'aiguille entourée d'une gaine en plastique (gaine de protection de l'aiguille) en la dévissant, puis en tirant. Faites attention lors de l'ouverture à ne pas toucher l'ouverture stérile arrondie. Pour cela, le mieux est de tenir l'arrière de la gaine de protection de l'aiguille.
| |
|

|
4. Fixez l'aiguille en même temps que la gaine de protection de celle-ci sur la seringue en exerçant un mouvement de rotation dans le sens des aiguilles d'une montre jusqu'à la butée de la seringue. Laissez encore la gaine de protection de l'aiguille sur celle-ci. Déposez la seringue à portée de main.
| |
|

|
5. Choisissez un site d'injection sur l'abdomen ou la cuisse et désinfectez-le avec un tampon imbibé de désinfectant. Laissez le désinfectant agir pendant environ 30 à 60 secondes.
| |
|

|
6. Retirez la gaine de protection de l'aiguille en tirant doucement vers l'arrière. Vérifiez que la couleur est bleue dans la fenêtre de visualisation. La seringue est maintenant prête à l'emploi. Important: pour éviter l'activation accidentelle du mécanisme de protection, la gaine de protection déjà retirée de l'aiguille ne doit pas être à nouveau replacée. Le manchon de protection entourant l'aiguille ne doit pas être touché avant l'introduction. Toute pression exercée sur ce manchon de protection peut conduire au déclenchement du mécanisme de protection, rendant l'aiguille inutilisable. Si cela se produit, la marque bleue n'est pas apparente dans la fenêtre de visualisation. Dans un tel cas, demandez à votre médecin ou à votre pharmacien une nouvelle aiguille.
| |
|

|
7. Formez un pli de peau avec deux doigts au niveau du site désinfecté. De l'autre main, saisissez la seringue comme montré sur la figure 7. Pincez la peau du pli approximativement à angle droit, et dans un mouvement continu, sans hésitation ni interruption, piquez l'aiguille dans le pli de peau jusqu'à ce que le manchon de protection soit complètement rétracté.
| |
|

|
8. Maintenez la seringue avec une pression constante sur la peau. En même temps, poussez le piston lentement dans la seringue, jusqu'à ce que tout le liquide soit administré. Retirez l'aiguille de la peau avec précaution. L'aiguille sera automatiquement protégée par le mécanisme de protection. Maintenez par pression une compresse sur le site d'injection jusqu'à ce qu'il n'y ait plus de saignement. Ne frottez pas afin d'éviter une irritation au site d'injection.
| |
|

|
9. Après l'administration, la marque bleue disparaît dans la fenêtre de visualisation, ce qui confirme que le mécanisme de protection est automatiquement verrouillé. La protection de l'aiguille est activée et évite toute blessure par piqûre. Veuillez jeter la seringue usagée au moyen d'un conteneur d'élimination de seringues.
|
Le mode de manipulation et d'élimination doit correspondre à la manipulation et à l'élimination des autres préparations cytotoxiques. Pendant la grossesse, le personnel médical spécialisé féminin ne doit pas manipuler ou administrer Methrexx.
Le méthotrexate ne doit pas être mis au contact de la peau ou des muqueuses. En cas de contamination, les zones touchées doivent être immédiatement rincées avec une quantité suffisante d'eau.
A usage unique exclusivement. Jeter toute solution non utilisée.
La solution injectable ne contient pas de conservateur. Pour des raisons microbiologiques, la solution injectable prête à l'emploi doit être utilisée immédiatement après l'ouverture.
Numéro d’autorisation62083 (Swissmedic)
Présentation1 seringue préremplie Methrexx 7,5 mg/0,75 ml avec un tampon imbibé de désinfectant. [A]
1 seringue préremplie Methrexx 10 mg/1 ml avec un tampon imbibé de désinfectant. [A]
1 seringue préremplie Methrexx 15 mg/1,5 ml avec un tampon imbibé de désinfectant. [A]
1 seringue préremplie Methrexx 20 mg/2 ml avec un tampon imbibé de désinfectant. [A]
1 seringue préremplie Methrexx 7,5 mg/0,375 ml avec un tampon imbibé de désinfectant. [A]
1 seringue préremplie Methrexx 10 mg/0,5 ml avec un tampon imbibé de désinfectant. [A]
1 seringue préremplie Methrexx 12,5 mg/0,625 ml avec un tampon imbibé de désinfectant. [A]
1 seringue préremplie Methrexx 15 mg/0,75 ml avec un tampon imbibé de désinfectant. [A]
1 seringue préremplie Methrexx 17,5 mg/0,875 ml avec un tampon imbibé de désinfectant. [A]
1 seringue préremplie Methrexx 22,5 mg/1,125 ml avec un tampon imbibé de désinfectant. [A]
1 seringue préremplie Methrexx 27,5 mg/1,375 ml avec un tampon imbibé de désinfectant. [A]
1 seringue préremplie Methrexx 20 mg/1 ml avec un tampon imbibé de désinfectant. [A]
1 seringue préremplie Methrexx 25 mg/1,25 ml avec un tampon imbibé de désinfectant. [A]
1 seringue préremplie Methrexx 30 mg/1,5 ml avec un tampon imbibé de désinfectant. [A]
Titulaire de l’autorisationSandoz Pharmaceuticals SA, Risch; domicile: Rotkreuz
Mise à jour de l’informationFévrier 2025
|