Information destinée aux patients Drossadin® Drossapharm AG Drossadin®Qu’est-ce que le Drossadin et quand est-il utilisé?Drossadin est un antiseptique de la bouche et du pharynx agissant contre les bactéries et les champignons qui peuvent provoquer des infections dans la cavité buccopharyngée. Drossadin possède des propriétés hémostatiques et analgésiques, favorise la guérison et est en outre bien toléré par les muqueuses.
La substance active hexétidine de Drossadin adhère fortement à la surface de la muqueuse et même après 10–12 heures on peut souvent encore déceler une action antibactérienne.
Drossadin est appliqué lors d’affections inflammatoires aiguës de la bouche et du pharynx et pour l’hygiène buccale dans les situations suivantes:
·inflammation des amygdales
·traitement d’appoint en cas d’angine
·inflammation du larynx et de la muqueuse du pharynx
·avant et après l’ablation chirurgicale des amygdales
·inflammations de la muqueuse buccale
·aphtes
·inflammations de la langue et des gencives
·saignement des gencives
·inflammation des alvéoles dentaires
·muguet
·mauvaise haleine
·plaies dans la cavité bucco-pharyngée
Quand Drossadin ne doit-il pas être utilisé?Hypersensibilité connue à l’un des composants.
Quelles sont les précautions à observer lors de l’utilisation de Drossadin?Drossadin 0.1% et 0.2%, solution et 0.2%, spray ne doivent pas être avalés et contiennent 4,8% en volume d’éthanol. Ceci correspond, pour une application, à 568 mg (Drossadin 0.1% et 0.2%, solution) et 40 mg d’éthanol (Drossadin 0.2%, spray). La pulvérisation sur la peau lésée peut provoquer une sensation de brûlure.
Si le médicament est utilisé conformément à l’usage auquel il est destiné, aucune précaution particulière n’est requise.
En cas de fièvre élevée ou si vous ne constatez pas d’amélioration après une semaine, consultez votre médecin.
Une application prolongée, de plus de deux semaines, ne doit être effectuée qu’après consultation d’un médecin.
Veuillez informer votre médecin, votre pharmacien ou votre droguiste si:
·vous souffrez d’une autre maladie,
·vous êtes allergique ou
·vous prenez déjà d’autres médicaments ou utilisez déjà d’autres médicaments en usage externe (même en automédication!)
Drossadin peut-il être utilisé pendant la grossesse ou l’allaitement?Sur la base des expériences faites à ce jour, aucun risque pour l’enfant n’est connu si le médicament est utilisé conformément à l’usage auquel il est destiné. Toutefois, aucune étude scientifique systématique n’a été effectuée. Par mesure de précaution, vous devriez renoncer si possible à prendre des médicaments durant la grossesse et l'allaitement, ou demander l'avis du médecin, du pharmacien ou du droguiste.
Comment utiliser Drossadin?Drossadin 0.1% et 0.2% solution:
Adultes dès 18 ans:
Drossadin en solution est pris non dilué. Appliquer Drossadin deux fois par jour (matin et soir), après les repas. La dose journalière recommandée ne doit pas être dépassée, sauf sur prescription du médecin. En cas de maladies de la cavité buccale, rincer la bouche pendant une demi-minute avec 15 ml solution Drossadin; en cas d’inflammation au niveau du pharynx: gargariser pendant le même temps et ensuite cracher la solution.
Mesurer la dose correspondante avec le gobelet gradué fourni. Après l’utilisation et avant l’utilisation par une autre personne, rincer avec de l’eau et sécher le gobelet gradué.
Pour le traitement local dans la bouche et dans le pharynx, appliquer la solution Drossadin avec un tampon d’ouate de façon précise sur les parties malades.
La solution Drossadin à 0.2% est destinée aux cas plus sévères. Elle s’applique comme la solution à 0.1%, sauf autre indication du médecin.
Enfants et adolescents:
L’emploi et la sécurité d’emploi de la solution Drossadin chez l’enfant et l’adolescent n’ont jusqu’à présent pas fait l’objet d’études.
Drossadin 0.2%, spray:
Adultes dès 18 ans:
Drossadin 0.2%, spray permet de traiter de façon ciblée les parties locales affectées. Le spray est appliqué en position verticale deux fois par jour (matin et soir) après les repas, dans la bouche et dans le pharynx. La dose journalière recommandée ne doit pas être dépassée, sauf sur prescription du médecin. 5 – 10 pulvérisations correspondent à une dose efficace. Cracher l’excédent de solution Drossadin. On appliquera Drossadin de préférence après un repas, en évitant de rincer ensuite la cavité buccale et le pharynx avec de l’eau.

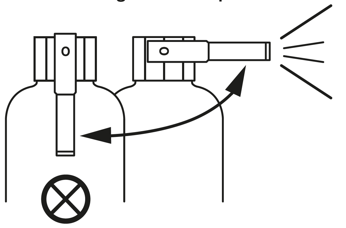
Pour l’application, amener l’embout de pulvérisation en position horizontale et maintenir le spray en position verticale pendant l’application. Avant le premier emploi, la pompe doit être actionnée 5 x jusqu’à ce qu’on obtienne une pulvérisation régulière.
Après l’emploi, fermer le récipient en ramenant l’embout en position verticale.
Enfants et adolescents:
L’emploi et la sécurité d’emploi de Drossadin spray chez l’enfant et l’adolescent n’ont jusqu’à présent pas fait l’objet d’études.
Veuillez vous conformer au dosage figurant sur la notice d’emballage ou prescrit par votre médecin. Si vous estimez que l'efficacité du médicament est trop faible ou au contraire trop forte, veuillez vous adresser à votre médecin, à votre pharmacien ou à votre droguiste.
Quels effets secondaires Drossadin peut-il provoquer?L’utilisation de Drossadin peut provoquer les effets secondaires suivants:
Très rare (concerne moins d’un utilisateur sur 10 000):
Réactions au point d’application, irritations de la muqueuse buccale et pharyngée, inflammation, formation de vésicules et d'ulcérations, fourmillement ou engourdissement de la bouche. Sécheresse buccale, difficultés à avaler, nausées, vomissements, augmentation de volume des glandes salivaires et vomissements. Réactions allergiques de la peau (telles que gonflement du visage – angiœdème) et des voies respiratoires (toux, dyspnée), surtout chez les patients souffrant d’asthme ou d’urticaire chronique. Altérations du goût (ce trouble est cependant léger et disparaît ensuite complètement).
En cas d’emploi régulier, une coloration des dents et/ou de la langue peut se produire, qui disparaît après nettoyage intensif des dents ou de la langue.
Si vous constatez l’apparition d’effets secondaires qui ne sont pas décrits ici, vous devez en informer votre médecin, pharmacien ou droguiste.
À quoi faut-il encore faire attention?Stabilité
Le médicament ne doit pas être utilisé au-delà de la date figurant après la mention «EXP» sur le récipient.
Stabilité après ouverture
Drossadin Spray: Se conserve 6 mois après ouverture.
Remarques concernant le stockage
Conserver hors de portée des enfants, à température ambiante (15°C – 25°C).
Conserver dans l'emballage d'origine pour protéger le contenu de la lumière et de l'humidité.
Que contient Drossadin?1 ml Drossadin 0.1%, solution pour application dans la cavité buccale contient:
Principe actif:
1,0 mg d’hexétidine
Excipients:
Ethanol, polysorbate 80, acide citrique monohydraté, essence de menthe, lévomenthol, essence d’eucalyptus, acésulfame potassique, hydroxyde de sodium, saccharine sodique, néohespéridine DC, jaune de quinoléine (E104), bleu patenté V (E131), eau purifiée. Contient 4,8% (v/v) d’alcool.
1 ml Drossadin 0.2%, solution pour application dans la cavité buccale contient:
Principe actif:
2,0 mg d’hexétidine
Excipients:
Ethanol, polysorbate 80, acide citrique monohydraté, essence de menthe, lévomenthol, essence d’eucalyptus, acésulfame potassique, saccharine sodique, hydroxyde de sodium, jaune orangé S (E110), néohespéridine DC, eau purifiée. Contient 4,8% (v/v) d’alcool.
Où obtenez-vous Drossadin? Quels sont les emballages à disposition sur le marché?En pharmacie et en droguerie, sans ordonnance médicale.
Drossadin 0.1%, solution (coloration verte): flacons de 200 ml avec gobelet gradué
Drossadin 0.2%, solution (coloration orange): flacons de 200 ml avec gobelet gradué
Drossadin 0.2%, spray (coloration orange): Flacon de 50 ml.
Numéro d’autorisation39798 (Swissmedic)
65701 (Swissmedic)
Titulaire de l’autorisationDrossapharm AG, Bâle
Cette notice d’emballage a été vérifiée pour la dernière fois en septembre 2021 par l’autorité de contrôle des médicaments (Swissmedic). |